ID-S51 超精密化に対して軸受はどのように変わっていくか
 
 
 現在、超精密の精度を要求する機械の代表には、直線運動に対しては半導体製造用のフォト・リソグラフィ装置、回転運動に対してはVTR、固定磁気ディスク装置(HDD)など情報、映像、音響機械そのものおよびそれらの製造と検査のための機械があります。特に、VTRとHDDは、家庭および事務所用の機械として大量生産されています。
 
 VTRの磁気記録のトラック幅は10μm以下、HDDにそれは18μm以下になっています1)。このため、これらの機械の回転軸の振れおよび回転むらを出来る限り小さくすることが必要になります。
 
 また、数ミクロンまたサブ・ミクロンの大きさのごみ、異物、摩耗粉などのコンタミネーションが、これらの機械の運動精度のオーダに比べて無視できなくなるので、超精密軸受は、コンタミネーション・コントロールされたクリーン・ルームの中で製造・組立てられます。
 
●いろいろな形式の軸受の使いわけ
 超精密軸受として使われる軸受の形式には、転がり軸受、動圧流体軸受、静圧流体軸受など、いろいろな種類があります。これらの軸受の長所と短所を比較して表1に示しました1)
 
表1 いろいろな軸受の特性

 
 
 動圧および静圧の流体軸受では、回転中、軸と軸受は非接触の状態に保たれます。流体軸受では、軸と軸受の間は、油または空気など作動流体を介した運動になるので、その流体による平均化効果のために、回転精度は軸および軸受の製作精度より良くなるのが普通です。
 
 転がり軸受でも、弾性流体潤滑(EHL)によって、転動体と軌道の間にミクロン・オーダの油膜を形成させ、非接触軸受として使うこともできるようになってきました。
 
 軸受の負荷能力は、軸受の投影面積(軸径×軸受幅)当りの許容荷重として、転がり軸受で390〜880N/cm2、油を使う流体軸受で2,900〜3,900N/cm2、静圧空気軸受で10N/cm2、動圧空気軸受で3N/cm2程度が設計の目安とされています。
 
●超精密玉軸受は
 超精密玉軸受は、ISO規格で“計器用玉軸受”と定義されているように、高い寸法と回転の精度をもちます。すなわち、JIS P4およびP2級、ABEC7Pおよび9P級以上に相当します。
 
 この規格の回転精度に対して、超精密玉軸受で支えられる回転軸の実用回転速度における軸心の振れ−−動的回転精度の値は、0.5μm以下の要求が増えています。また、動的な軸心の振れの周波数成分の中でも、回転速度に比例しない成分−−繰り返し性のない不規則な成分(NRR)を特に小さくする要求が強いです。
 
 転がり軸受は、軌道輪と転動体が弾性接触するために、その構造に起因する固有振動数をいくつかもっています。それらの固有振動数が、機械の軸系またはハウジングの固有振動数と共振して、振動または騒音の原因になることがあります。それを防ぐためには、軸受、軸、ハウジングの固有振動数まで設計変更する場合もあります。
 
 また、軸受自身の精度を高めるだけでなく、軸受を取り付ける軸およびハウジングの製作精度と取付け精度も、少なくとも、軸受の精度以上にすることが必要です。
 
 これらの超精密玉軸受の実用例として、図1にHDD2)図2に家庭用VTRの回転ドラム3)を示しました。このほかには、慣性誘導航法のジャイロ、研削スピンドル、歯科用スピンドルなどに使われています。
 

 
図1 固定磁気ディスク装置(HDD)
(玉軸受)

 
 

 
図2 家庭用VTRの回転ドラム
(軸付き玉軸受)

 
 
●動圧グループ軸受は
 転がり軸受より高い動的回転精度を必要とし、さらに家庭や事務所でも使うことのできる回転機械の軸受には、動圧流体軸受の一種である動圧グループ軸受が適しています。
 
 動圧流体軸受は、軸の回転運動自身によって、空気または油の粘性を利用し、軸と軸受の間に強固な流体膜を発生させ、その圧力によって軸と軸受の間を非接触に保持するものです。
 
 その中で、動圧グループ軸受は、軸または軸受の一方に軸の方向と一定の角度をもたせたスパイラル形(螺旋形)またはヘリングボーン形(魚の骨形)の浅い溝を加工し、そのポンプ作用を利用して軸と軸受の間に流体膜を形成するものです。
 
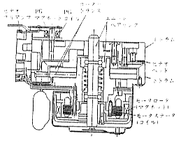
 図3に家庭用VTRの回転ドラムの油動圧グループ軸受4)図4にレーザ・プリンタの回転多面鏡に使われている空気動圧グループ軸受5)の例を示しました。後者の軸受は、軸径14mmで、回転速度は10,000〜30,000rpmで使われています。
 

 
図3 家庭用VTRの回転ドラム(シリンダ)
(油動圧グループ軸受)

 
 

 
図4 複写機用レーザ・プリンタの回転多面鏡
(空気動圧グループ軸受)

 
 
 これらの動圧グループ軸受を使ったVTRやレーザ・プリンタを備えた複写機は、日本はもち論のこと、世界中の家庭や事務所で使われています。
 
●静圧空気軸受は
 静圧空気軸受は、軸受の外部で発生させた高圧の空気を強制的に軸受内部に送り込み、その圧力で軸を浮かせて、軸と軸受を非接触に保つ軸受です。外部に圧縮空気源を必要とするために、この軸受の用途は工場の生産設備用に限られます。
 
 静圧空気軸受には、空気を軸受面に供給する形式として、多数孔絞り形、表面絞り形、多孔質絞り形などの種類があります。小形から中形の軸受では、多孔質絞り形が負荷能力が大きいので多く使われます。大型軸受では、多孔質材料の製造がむずかしくなるので、直径で1mm以下の小孔を軸受面にあける多数孔絞り形が使われます。
 
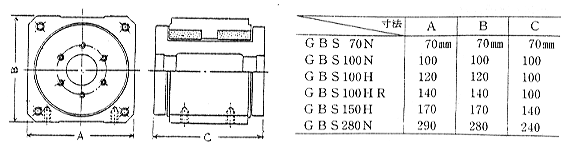
 静圧空気軸受を使った回転軸の振れ精度は0.05μmp-p以下、回転速度に比例しない成分の振れNRRは0.02μmp-p以下にすることができます。表2のように、標準化された寸法の静圧空気軸受が、スピンドル・ユニットとして生産されています。
 
表2 標準化された静圧空気軸受ユニット

 
 
 これらのスピンドルの用途は、軟質材料を鏡面加工するための旋盤の主軸、磁気ディスクと光ディスクの製造および検査装置などです。
「参考文献」
  1)K.KAKUTA:Bull. JSPE, 23-1 (1989) 1.
  2)金子・吉井:通研実報, 31-1 (1982) 241.
  3)田中・坂井:東芝レビュー, 40-8 (1985) 699.
  4)淺田隆文ほか:National Tech. Rep., 31-6 (1985) 854.
  5)田中克彦:日本機械学会誌, 89-812 (1986) 756.
「出典」
ベアリングQ&A 月刊トライボロジ1990.10 P76-77
 
 

 
Copyright 1999-2003 Japan Lubricating Oil Society. All Rights Reserved.